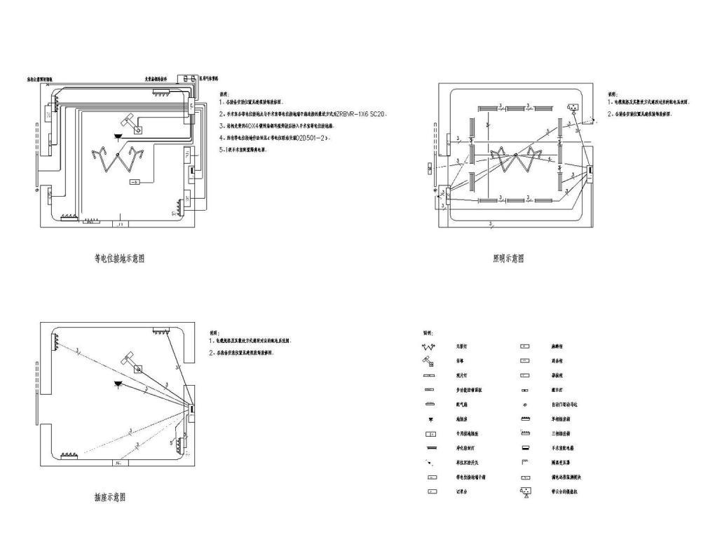
南苑医院10层手术室、ICU病房净化装饰工程电气施工图纸
- 发布时间:2021-12-11
- 评论次数:0
- 浏览次数:0
- 文件大小:6.28 MB
- 收藏次数:0
-
文件名称:
附件-996099567767855906.zip
ICU净化工程下载
- 五层医院手术部ICU病房净化空调系统设计图纸_
- 医院手术室净化工程设计CAD施工图纸(洁净装饰医气电气)
- 医院手术室净化工程CAD施工图纸(净化装饰电气)(组合式空调机组)
- 20层医院病房楼暖通动力CAD施工图纸(净化手术室供氧工程)
- 洁净手术室、ICU净化工程设计CAD施工图纸
- 医院洁净空调及ICU净化工程设计图纸
- 女子医院综合楼装饰及净化工程电气施工图纸
- 净化手术室建设装饰改造工程暖通设计
- 医院手术室洁净室及ICU空调
- 医院手术室净化空调装修工程设计施工图纸
- 医院血液病房净化空调施工图纸
- 医院手术室净化工程全套设计施工大样图
- 20层医院病房楼暖通动力CAD施工图纸(净化手术室供氧工程)(四管制风机盘管)
- 综合性医院电气施工图纸(空调净化装饰).dwg
- 医院病房电气CAD施工图纸
- 医院病房电气CAD施工图纸
- 医院病房电气施工CAD图纸
- 医院手术室净化空调设计施工图纸
- 医院净化手术室设计图纸全套
- 7层医院洁净手术室净化空调图纸
全部评论
评论网友评论仅友表达个人看法,并不表明本站同意其观点,不得发布违反法律法规的内容!
