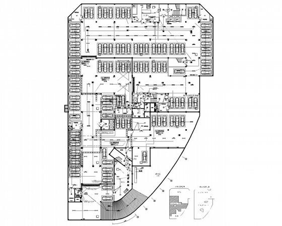
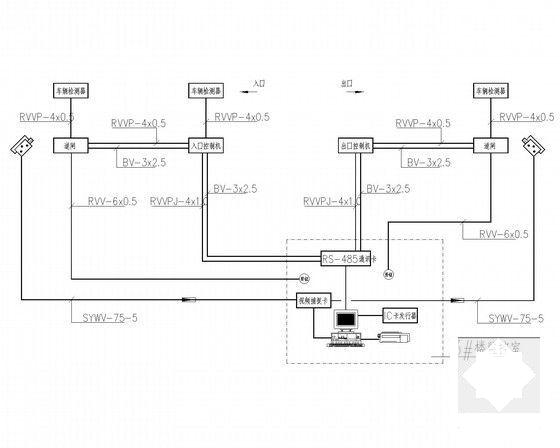
5层社区服务中心强弱电CAD施工图纸(新火规社区商业活动中心)
- 发布时间:2022-12-30
- 评论次数:0
- 浏览次数:0
- 文件大小:3.89 MB
- 收藏次数:0
-
文件名称:
附件-995855905865687987866.rar
相关下载
- 4820平米4层小学强弱电施工图纸(新火规)
- 6层广电大楼强弱电CAD施工图纸(新火规)
- 4层小学强弱电CAD施工图纸(新火规)
- 高层住宅楼强弱电CAD施工图纸(新火规)
- 18层商业综合体强弱电CAD施工大样图(新火规)
- 化工企业强弱电CAD施工图纸(新火规新照明甲级设计院)
- 医疗卫生综合楼强弱电CAD施工图纸(新火规新照明)
- 12层医院门诊综合病房楼强弱电CAD施工图纸(新火规新照明)
- 12层医院门诊综合病房楼强弱电CAD施工图纸(新火规新照明)
- 医疗卫生综合楼强弱电CAD施工图纸64张(新火规新照明)
- 大型高层住宅商业综合体电气施工CAD图纸(采用新火规)
- 多层新中式社区综合服务中心建筑施工CAD图纸
- 5层社区服务中心强弱电施工图纸
- 超高层综合商业楼强弱电CAD施工大样图174张(办公酒店商业新火规甲级设计院)
- 3层敬老院综合楼强弱电施工图纸(新火规)
- 6层知名商场强弱电CAD施工图纸(新火规2014年底设计)
- 4层小学完整强弱电施工cad图纸(最新设计新火规甲级设计)
- 6层知名商场强弱电施工CAD图纸(新火规2014年底设计)
- 地下车库强弱电CAD施工图纸17张(新火规最新设计规范)
- 2层中学综合馆强弱电施工CAD图纸(甲级设计院新火规)
全部评论
评论网友评论仅友表达个人看法,并不表明本站同意其观点,不得发布违反法律法规的内容!
