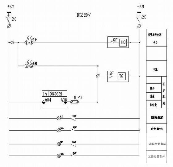
20KVKYN-24系列开关柜电气设计图纸(控制原理)
- 发布时间:2022-10-10
- 评论次数:0
- 浏览次数:0
- 文件大小:1.26 MB
- 收藏次数:0
- 
								文件名称: 附件-995857875887875578778.rar 附件-995857875887875578778.rar
								相关下载
							
						全部评论
						
							评论网友评论仅友表达个人看法,并不表明本站同意其观点,不得发布违反法律法规的内容!
						
						 附件-995857875887875578778.rar
 附件-995857875887875578778.rar