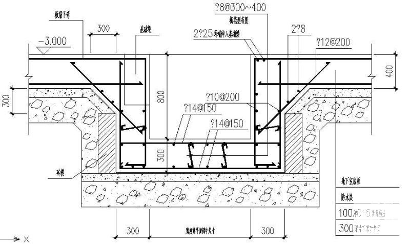
积水坑(吸水坑)节点构造设计详图纸
- 发布时间:2022-02-20
- 评论次数:0
- 浏览次数:0
- 文件大小:0.02 MB
- 收藏次数:0
-
文件名称:
附件-996057687769797685.rar
积水坑设计图下载
- 公路工程风积沙路基施工工法
- 积水坑(吸水坑)节点构造设计详图
- 积水坑(吸水坑)节点设计构造详图
- 电梯基坑、吸水坑、集水坑节点构造详细设计CAD图纸
- 集水坑节点构造设计详图纸
- 集水坑节点构造CAD详图纸
- 矩形集水坑结构施工图纸(2张)
- 集水坑(带隔油池)大样图纸
- 集水坑剖面节点构造设计详图纸
- 各种集水坑配筋节点构造设计详图纸
- 水池集水坑配筋详细设计CAD图纸
- 办公楼污水集水坑节点大祥
- 矩形集水坑结构CAD施工图纸
- 国内住宅项目集水坑模板剖面图纸cad
- 电梯井、集水坑防水处理节点构造详图纸
- 下室底板集水坑配筋节点构造详细设计CAD图纸
- 基础基坑及集水坑大样及配筋节点构造详细设计CAD图纸
- 柱帽及集水坑大样节点构造详细设计CAD图纸
- 下室集水坑及挡土墙条基节点构造详细设计CAD图纸
- 排水沟、集水坑、地下室外墙节点构造详细设计CAD图纸
全部评论
评论网友评论仅友表达个人看法,并不表明本站同意其观点,不得发布违反法律法规的内容!
