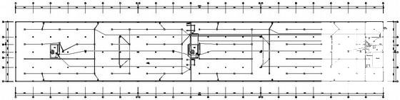
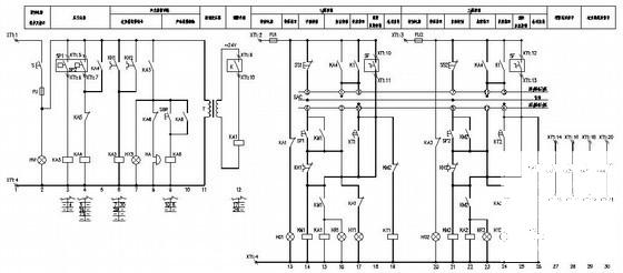
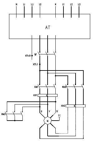
一类防火单层地下车库电气施工图纸
- 发布时间:2021-11-24
- 评论次数:0
- 浏览次数:0
- 文件大小:0.37 MB
- 收藏次数:0
-
文件名称:
附件-995856679778089505568.rar
地下车库电气下载
- 一类防火地下车库电气CAD施工图纸(火灾自动报警系统)(TN-S)
- 住宅楼小区单层地下车库电气施工图纸(二级负荷)
- 单层地下车库电气施工图纸(二级负荷)
- 单层商场地下车库建筑扩初图纸
- 一类地下汽车库电气设计CAD施工图纸(火灾自动报警)
- 国内小区单层框架结构地下车库结构施工图纸(车库)
- 住宅楼地下车库电气CAD施工图纸(二类汽车库)(防火卷帘门)
- 框架结构一类地下车库建筑施工CAD图纸(人防)
- 一类地下车库给排水CAD施工图纸
- 一类高层地下车库给排水及消防CAD施工图纸(住宅)
- 一类住宅地下车库强电系统CAD施工图纸()
- 框架结构一类地下车库建筑施工图纸(人防).
- 地下单层框架结构地下车库结构施工图纸
- 地下单层混凝土框架结构地下车库结构施工图纸
- 地下单层框架结构地下车库结构设计施工图纸
- 地下单层框架结构地下车库结构CAD施工图纸
- 地下单层剪力墙结构地下车库结构CAD施工图纸
- 一类地下车库给排水CAD施工大样图
- 地下单层框架结构地下车库结构施工大样图
- 地下单层框架结构地下车库结构CAD施工大样图
全部评论
评论网友评论仅友表达个人看法,并不表明本站同意其观点,不得发布违反法律法规的内容!
